JCB 214 & 217
| ITEM | PART NUMBER | QTY | DESCRIPTION |
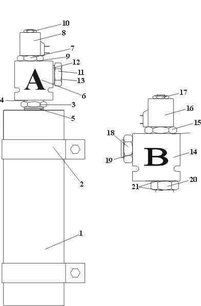
| 1 | RC-0379 | 1 | 1/2 Gal. Piston Accumulator |
| 2 | RC-0380 | 1 | Mounting Bracket |
| 3 | RC-0006 | 1 | Adapter - Reducer |
| 4 | RC-0327 | 1 | -16 O-Ring |
| 5 | RC-0328 | 1 | -20 O-Ring |
| RC-0005 | 1 | 24V Valve Assembly (A) | |
| 7 | RC-0023 | 1 | Cartridge |
| 10 | RC-0538 | 1 | Cartridge Nut |
| 9 | RC-0443 | 1 | Cartridge O-Ring |
| 6 | RC-0022 | 1 | Body |
| 8 | RC-0021 | 1 | 24V Coil |
| 11 | RC-0394 | 1 | SAE O-Ring Adapter |
| 12 | RC-0327 | 1 | -16 O-Ring |
| ** | RC-0445 | 1 | 24" Hose Assembly |
| ** | RC-0384 | 2 | T-Fitting |
| ** | RC-0309 | 1 | T-Fitting |
| 20 | RC-0280 | 1 | Adapter |
| RC-0138 | 1 | 24V Valve Assembly (B) | |
| 14 | RC-0302 | 1 | Body |
| 15 | RC-0304 | 1 | Cartridge |
| 16 | RC-0306 | 1 | 24V Coil |
| 17 | RC-0538 | 1 | Cartridge Nut |
| 21 | RC-0326 | 1 | -6 O-Ring |
| ** | RC-0435 | 1 | Adapter |
| ** | RC-0396 | 1 | Adapter |
| ** | RC-0446 | 1 | 36" Hose Assembly |
| 18 | RC-0137 | 1 | SAE O-Ring Adapter |
| 19 | RC-0326 | 1 | -6 O-Ring |
| *** | RC-0476 | 1 | 1/2 Gal. Piston Seal Kit |
| *** | RC-0185 | 1 | Charging & Gauging Kit |
| *** | RC-0353 | 1 | Charging Head |
| *** | RC-0285 | 1 | Charging Gauge |
** Not Shown
*** Not Included in Kit.
If you have any questions, please contact us.
Paul Wever Construction Equipment Co., Inc.
401 Martin Dr. -- P.O. Box 85
Goodfield, IL 61742
1-800-990-7923
Click on address for directions.
Send comments to:
Copyright ©
Last Revised: