
| ITEM | PART NUMBER | QTY | DESCRIPTION |
| ** | RC-0149 | 1 | Tube Assy |
| ** | Dresser Pt. | 1 | Reworked Dresser Part |
| ** | RC-0042 | 1 | ORS-BR Shoulder |
| ** | RC-0043 | 1 | ORS-BR Nut |
| ** | RC-0002 | 1 | 90 ORS Elbow |
| ** | RC-0334 | 2 | -16 O-Ring Surface |
| ** | RC-0150 | 1 | 48" Hose Assembly |
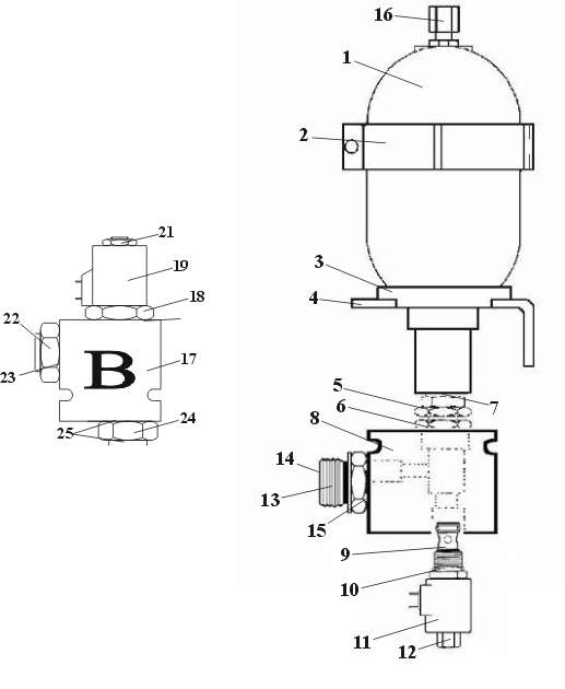
| 13 | RC-0012 | 1 | ORS/SAE O-Ring Adapter |
| 14 | RC-0330 | 1 | -12 O-Ring |
| 15 | RC-0327 | 1 | -16 O-Ring |
| RC-0019 | 1 | 12V Dir Cont Valve & Cartridge | |
| 9 | RC-0023 | 1 | Cartridge |
| 12 | RC-0538 | 1 | Cartridge Nut |
| 10 | RC-0443 | 1 | Cartridge O-Ring |
| 8 | RC-0022 | 1 | Body |
| 11 | RC-0020 | 1 | 12V Coil |
| 5 | RC-0006 | 1 | O-Ring Hex Nipple |
| 6 | RC-0327 | 1 | -16 O-Ring |
| 7 | RC-0328 | 1 | -20 O-Ring |
| 2 | RC-0009 | 1 | Clamp Bracket |
| 1 | RC-0262 | 1 | Accumulator |
| 22 | RC-0137 | 1 | SAE O-Ring Adapter |
| 23 | RC-0326 | 1 | -6 O-Ring |
| RC-0431 | 1 | 12V Valve Assembly | |
| 17 | RC-0302 | 1 | Body |
| 18 | RC-0304 | 1 | Cartridge |
| 19 | RC-0432 | 1 | 12V Coil |
| 21 | RC-0538 | 1 | Cartridge Nut |
| 24 | RC-0139 | 1 | O-Ring Hex Nipple\NPT Adapter |
| 25 | RC-0326 | 3 | -6 O-Ring |
| ** | RC-0140 | 1 | 60" Hose Assembly |
| ** | RC-0141 | 1 | 90 JIC Elbow |
| *** | RC-0263 | 1 | 1 Gal. Repair Kit |
| *** | RC-0398 | 1 | Valve Stem 1-15 Gal. Accum. |
| *** | RC-0185 | 1 | Charging & Gauging Kit |
| *** | RC-0353 | 1 | Charging Head |
| *** | RC-0285 | 1 | Charging Guage |
** Not Shown
*** Not Included in Kit
If you have any questions, please contact us.
Paul Wever Construction Equipment Co., Inc.
401 Martin Dr. -- P.O. Box 85
Goodfield, IL 61742
1-800-990-7923
Click on address for directions.
Send comments to:
Copyright ©
Last Revised: