KOMATSU WA320
| ITEM | PART NUMBER | QTY | DESCRIPTION |
| ** | RC-0067 | 1 | Reworked Komatsu Part |
| ** | KOM Rework | 1 | Komatsu Fitting |
| ** | RC-0024 | 1 | ORS-BR Shoulder |
| ** | RC-0025 | 1 | ORS-BR Nut |
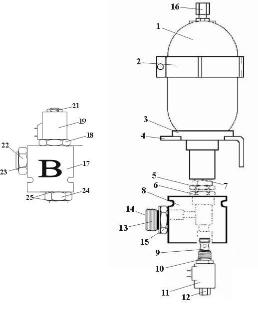
| 13 | RC-0018 | 1 | 45 O-Ring Adapter |
| 14 | RC-0330 | 1 | -12 O-Ring Surface |
| 15 | RC-0327 | 1 | -16 O-Ring Boss |
| ** | RC-0068 | 1 | 25" Hose Assembly |
| RC-0005 | 1 | Dir Cont Valve & Cart 24V | |
| 9 | RC-0023 | 1 | Cartridge |
| 12 | RC-0538 | 1 | Cartridge Nut |
| 10 | RC-0443 | 1 | Cartridge O-Ring |
| 8 | RC-0022 | 1 | Body |
| 11 | RC-0021 | 1 | 24V Coil |
| 5 | RC-0006 | 1 | O-Ring Hex Nipple |
| 6 | RC-0327 | 1 | -16 O-Ring |
| 7 | RC-0328 | 1 | -20 O-Ring |
| 2 | RC-0009 | 2 | Clamp Bracket |
| 1 | RC-0262 | 1 | Accumulator |
| 22 | RC-0137 | 1 | SAE O-Ring Adapter |
| 23 | RC-0326 | 1 | -6 O-Ring |
| RC-0138 | 1 | 24V Valve Assembly | |
| 17 | RC-0302 | 1 | Body |
| 18 | RC-0304 | 1 | Cartridge |
| 19 | RC-0306 | 1 | 24V Coil |
| 21 | RC-0538 | 1 | Cartridge Nut |
| 24 | RC-0139 | 1 | O-Ring hex nipple\NPT adapter |
| 25 | RC-0326 | 2 | -6 O-Ring |
| ** | RC-0140 | 1 | 60" Hose Assembly |
| ** | RC-0141 | 1 | 90 JIC Elbow |
| *** | RC-0263 | 1 | 1 Gal. Bladder Repair Kit |
| *** | RC-0398 | 1 | Valve Stem 1-15 Gal. Accum. |
| *** | RC-0185 | 1 | Charging & Gauging Kit |
| *** | RC-0353 | 1 | Charging Head |
| *** | RC-0285 | 1 | Charging Gauge |
** Not Shown
*** Not Included in Kit
If you have any questions, please contact us.
Paul Wever Construction Equipment Co., Inc.
401 Martin Dr. -- P.O. Box 85
Goodfield, IL 61742
1-800-990-7923
Click on address for directions.
Send comments to:
Copyright ©
Last Revised: