KOMATSU WA600 with Piston Accumulator

| ITEM | PART NUMBER | QTY | DESCRIPTION |
| ** | RC-0099 | 1 | Tube Assy. For WA600 |
| ** | RC Rework | 1 | KOM WA600 Tube Assy. |
| ** | RC-0042 | 1 | ORS-BR Shoulder |
| ** | RC-0043 | 1 | ORS-BR Nut |
| ** | RC-0039 | 1 | Elbow |
| ** | RC-0334 | 2 | -16 O-Ring |
| ** | RC-0190 | 1 | 20" Hose Assembly |
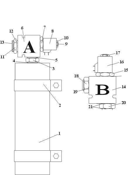
| 11 | RC-0044 | 1 | ORS/SAE Adapter |
| 13 | RC-0327 | 1 | -16 O-Ring |
| 12 | RC-0328 | 1 | -20 O-Ring |
| RC-0672 | 1 | Dir Cont Valve & Cart | |
| 6 | RC-0674 | 1 | Body |
| 7 | RC-0673 | 1 | Flow Control Cartridge |
| 9 | RC-0676 | 1 | Pilot Cartridge |
| 10 | RC-0538 | 1 | Cartridge Nut |
| 8 | RC-0675 | 1 | 24V Coil |
| 3 | RC-0041 | 1 | Adapter/Reducer |
| 5 | RC-0328 | 1 | -20 O-Ring |
| 4 | RC-0329 | 1 | -24 O-Ring |
| 1 | RC-0559 | 1 | 2.5 Gal. Piston Accumulator |
| 2 | RC-0582 | 1 | Clamp Bracket |
| ** | RC-0101 | 1 | Support Bracket |
| ** | RC-0349 | 1 | Rubber Ring For Bracket |
| ** | RC-0102 | 1 | Stand Off Bracket For Clamp |
| 18 | RC-0137 | 1 | SAE O-Ring Adapter |
| 19 | RC-0326 | 1 | -6 O-Ring |
| RC-0138 | 1 | 24V Valve Assembly | |
| 14 | RC-0302 | 1 | Body |
| 15 | RC-0304 | 1 | Cartridge |
| 16 | RC-0306 | 1 | 24V Coil |
| 17 | RC-0538 | 1 | Cartridge Nut |
| 20 | RC-0139 | 1 | O-Ring Hex Nipple\NPT Adapter |
| 21 | RC-0326 | 2 | -6 O-Ring |
| ** | RC-0142 | 1 | 72" Hose Assembly |
| ** | RC-0141 | 1 | 90 JIC Elbow |
| ** | RC-0338 | 1 | JIC/NPT Adapter |
| *** | RC-0643 | 1 | 2.5 Gal. Piston Seal Kit |
| *** | RC-0398 | 1 | Valve Stem 1-15 Gal. Accum. |
| *** | RC-0185 | 1 | Charging & Gauging Kit |
| *** | RC-0353 | 1 | Charging Head |
| *** | RC-0285 | 1 | Charging Gauge |
** Not Shown
*** Not Included in Kit
If you have any questions, please contact us.
Paul Wever Construction Equipment Co., Inc.
401 Martin Dr. -- P.O. Box 85
Goodfield, IL 61742
1-800-990-7923
Click on address for directions.
Send comments to:
Copyright ©
Last Revised: