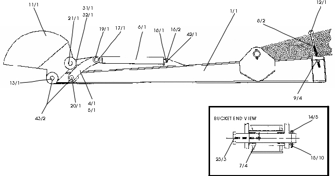
| ITEM | QTY | PART NUMBER | NAME | DESCRIPTION |
| 1 | 1 | WC-0020 | Boom Assembly | |
| 2 | 1 | WC-0003 | Hose Assembly | 3/4" I.D. x 75" Long |
| 3 | 1 | WC-0007 | Hose Assembly | 3/4" I.D. x 31" Long |
| 4 | 1 | WC-0031 | Link Assembly | Idler Link R.H. |
| 5 | 1 | WC-0050 | Link Assembly w Lock | Idler Link L.H. |
| 6 | 1 | WC-0023 | Cylinder | 4" Bore |
| 7 | 4 | WC-0058 | Bushing | 65mm I.D. 80mm O.D. |
| 8 | 2 | WC-0067 | Rod Assembly | 1 1/4" Threaded Rod |
| 9 | 4 | WC-0016 | Nut | 1 1/4" Nut |
| 10 | 2 | WC-0002 | Hose Assembly | 3/4" I.D. x 48" Long |
| 11 | 1 | WC-0022 | C.F. Bucket
PWCE Bucket |
60" Dredge Bucket |
| 12 | 1 | WC-0052 | Plate-tie
Saddle |
16.5" Center |
| 13 | 1 | WC-0049 | Pin | Dipper to Bucket |
| 14 | 5 | WC-0011 | Bolt | ½" x 4 ½" Long |
| 15 | 10 | WC-0013 | Nut | ½" Nut |
| 16 | 2 | WC-0008 | Zerk | Drive Zerk |
| 17 | 1 | WC-0017 | Bushing | Rod End Turn out 60 thousandths |
| 18 | 1 | WC-0018 | Bushing | Head End |
| 19 | 1 | WC-0048 | Pin | Rod End to Idler |
| 20 | 1 | WC-0081 | Pin | Idler to Dipper |
| 21 | 1 | WC-0091 | Pin | Power Link to Bucket |
| 22 | 2 | WC-0001 | Tube Assembly | 3/4" x 96" 20 ft. Boom |
| 23 | 3 | WC-0009 | Zerk | Metric Zerk |
| 24 | 1 | WC-0069 | Tube Assembly | 3/4" x 96" Dipper R.H. |
| 25 | 1 | WC-0070 | Tube Assembly | 3/4" x 96" Dipper L.H. |
| 26 | 4 | WC-0012 | Bolt | ½" x 1" Long |
| 27 | 4 | WC-0072 | Clamp Top | Hydraulic Tube Holder |
| 28 | 4 | WC-0074 | Clamp Assembly | Hydraulic Tube Holder Bottom |
| 29 | 2 | WC-0014 | Elbow | Hydraulic Cylinder |
| 30 | 2 | WC-0015 | Elbow | Tube Assembly |
| 31 | 1 | WC-0173 | Power Link | Power Link R.H. |
| 32 | 1 | WC-0174 | Power Link | Power Link L.H. |
| 33 | 2 | WC-0010 | Bushing | Komatsu PC220 |
| 34 | 2 | WC-0004 | Bushing | Komatsu PC300 |
| 35 | 2 | WC-0047 | Bushing | John Deere 790D |
| 36 | 2 | WC-0136 | Bushing | John Deere 690C |
| 37 | 1 | WC-0137 | Pin | John Deere 690C |
| 38 | 2 | WC-0139 | Bushing | John Deere 690D |
| 39 | 2 | WC-0240 | Bushing | CAT 229 |
| 40 | 1 | WC-0095 | Plate-Tie
Saddle |
15.5" Center |
| 41 | 1 | WC-0057 | Bushing | Dog Bone |
| 42 | 8 | Head Bolts | Cylinder | |
| 43 | 1 | WC-0487 | Cartridge | Adjustable Cartridge |
| 44 | 1 | WC-0488 | Valve | Valve |
| 45 | 1 | WC-0506 | Pin | Cylinder Bottom |
| 46 | 2 | WC-0059 | Bushing | Boom End |
FOR MORE DETAILS OR QUESTIONS, PLEASE CONTACT US.
Paul Wever Construction Equipment Co., Inc.
401 Martin Dr. -- P.O. Box 85
Goodfield, IL 61742
1-800-990-7923
Click on address for directions.
To Extendavator Page
Return To List
Send comments to:
Copyright ©
Last Revised: